Co Garmin chystá pro budoucnost svých hodinek: nová korunka bez otvoru do pouzdra a revoluční anténní architektura pro skutečně celokovové modely.
Obsah článku
Garmin tiše ladí revoluci v konstrukci hodinek
Garmin poslední roky investuje obrovské prostředky do vývoje hardwaru, a i když velká část inovací je skryta v softwaru a senzorech, nejzásadnější posuny často začínají v patenty. Tyto dokumenty vývoj neodhalují jen na povrchu, často ukazují, jak firma přemýšlí o limitech stávajících řešení a jakým směrem se budou ubírat její budoucí generace Fenix, MARQ a dost možná zase řada Epix.
V posledních měsících se objevily dva významné patenty, které řeší dvě dlouhodobé technické bariéry Garminu:
1️⃣ Nové ovládání pomocí otočné korunky, která nikdy neporuší těsnění pouzdra.
2️⃣ Zcela nová architektura antén, která umožní postavit plně kovové hodinky bez plastových dílů narušujících design.
Na první pohled jde o dvě odlišné témata, ovládání a antény. Ale společně vytvářejí obraz budoucí generace Garminu, kde:
- uživatel získá nové způsoby interakce
- konstrukce bude čistší, luxusnější a odolnější
- RF výkon nebude limitován materiály
- design se přiblíží špičkovým švýcarským sportovním chronografům, aniž by utrpěla funkčnost
Pojďme se na to podívat do hloubky.
Otočná korunka, která nikdy neporuší těsnění
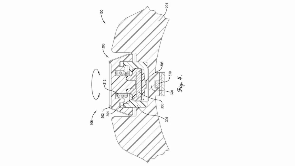
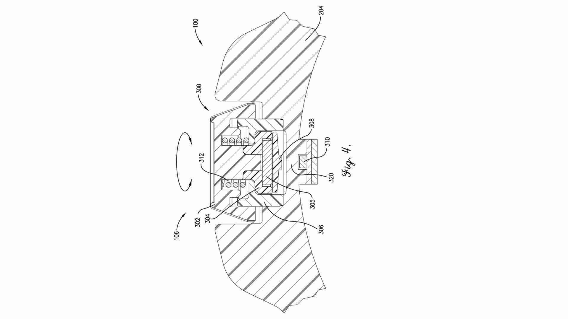
Patent US20250341869A1 – „Pushbutton Assembly for a Watch“
Garmin tradičně sází na ovládání pěti tlačítky, což je robustní, spolehlivé a skvěle funguje v zimě, pod vodou i v rukavicích. Nicméně trh se vyvíjí, uživatelé stále častěji očekávají kombinaci dotykového ovládání a fyzické korunky, zejména během zoomování map, scrollování widgetů nebo rychlého procházení dlouhých seznamů.
Apple Watch mají Digital Crown, Suunto přidalo otočný prvek, dokonce i některé potápěčské počítače začínají nabízet rotační prvky.

Garmin však měl problém – rotační korunka znamená otvor v pouzdře, a tedy:
- nutnost používat O-kroužky
- riziko proniknutí vody či písku
- opotřebení těsnění
- celkově nižší spolehlivost u extrémně odolných modelů (Fenix, MARQ, Descent)
Garminí patent řeší všechno a brilantně
Patent popisuje korunku, která sedí kompletně mimo vnitřní prostor hodinek a přitom poskytuje:
- rotaci
- kliknutí
- plnohodnotný stisk
- zachování 100% těsnění bez jediného otvoru do pouzdra
Jak to funguje?
Klíčové prvky:
- korunka je umístěna v mělké dutině zvenku pouzdra
- uvnitř korunky je magnet
- uvnitř pouzdra je Hallův senzor
- mezi nimi pevná kovová stěna, žádný otvor, žádný průnik, žádný hřídel
➡️ Když uživatel otáčí korunkou, magnet rotuje spolu s ní a Hallův senzor detekuje změny magnetického pole.
Jde o zcela bezkontaktní ovládání, podobné tomu, jak fungují některé moderní digitální knoflíky u vodotěsné elektroniky.
A co stisk? Garmin jde ještě dál
Patent nepopisuje jen otáčení, řeší i hmatovou odezvu. To je to, co dělá fyzickou korunku skvělou.
Uvnitř sestavy je:
- přítlačná pružina
- převrátitelný „snap dome“ (kovová kupole, která při tlaku lupne)
- posuvná mechanika, která přiblíží magnet k senzoru při stisku
Díky tomu:
- stisk je jasný, hmatový a čistý
- korunka rozlišuje krátký stisk, dlouhý stisk i rotaci
- přitom neexistuje žádný otvor, kterým by se dostala voda, pot, bláto či prach
Proč je to zásadní?
Garmin tím elegantně řeší dlouhodobý kompromis mezi:
- odolností (extrémní těsnost)
- ergonomií (přesné výběry a scrollování)
- a moderním UX (zoom na mapě, procházení datových polí)
Pokud tento systém dorazí do Fenix, Epix nebo MARQ, půjde o největší změnu ovládání Garminu za poslední dekádu.
Nová anténní architektura pro plně kovové hodinky
Patent – multilayer slot antennas in metal housings
Druhý patent řeší úplně jiný, ale neméně zásadní problém: jak dostat špičkový GNSS, Bluetooth, Wi-Fi a LTE do plně kovového těla.
Toto je problém, se kterým bojuje prakticky každý výrobce sportovních hodinek:
- kov stíní radiové signály
- GNSS potřebuje čistý výhled a minimální rušení
- LTE a Wi-Fi vyžadují jasně definované anténní struktury

Proto Garmin:
- používá polymerové mid-cases (Fenix)
- skrývá pod lunetou izolační prstence (MARQ)
- nebo nenechává kovové součásti dotýkat se antén
Je to technicky nutné, ale designově limitující.
Patent: udělejme z kovu samotnou anténu
Garmin se zde vydává úplně novým směrem.
Návrh říká:
Rozdělíme kovové pouzdro na elektricky oddělené segmenty.
Tyto segmenty samotné se stanou anténami.
To se dosahuje tak, že:
- luneta je rozdělena na několik částí
- boční pouzdro také
- mezi nimi je skrytý vnitřní izolační kroužek (nikoliv viditelný plast)
- jednotlivé segmenty lunety + části pouzdra tvoří slotové antény

Výsledek?
Každý pás (L1, L5, Bluetooth/Wi-Fi, LTE) má vlastní kovový segment.
Žádný z těchto segmentů nepotřebuje plastovou výplň nebo polymer.
Anténa je doslova tělo hodinek
Druhá konfigurace jde ještě dál
Patent popisuje i variantu, kde:
- L5 anténa je prodloužena tak, aby pokryla i low-band LTE
- takže jedinákovovákonstrukce obslouží GNSS, Bluetooth, Wi-Fi i LTE
To je dnes téměř nevídané, žádné jiné sportovní hodinky to neumí v čistě kovovém těle.
Proč je tato změna přelomová
Garmin se dlouhodobě snaží posouvat své prémiové řady (zvlášť MARQ) směrem k luxusnímu segmentu. Jenže plastové či polymerové prvky, ačkoli skryté, ruší:
- designovou čistotu
- konstrukční eleganci
- a v nejvyšším segmentu i vnímání hodnoty
S novým patentem by mohly vzniknout:
➡️ plně titanové MARQ (Gen 3) bez jediného plastového prvku
➡️ Fenix s jednolitého kovového těla,
➡️ odolnější a tužší konstrukce díky méně součástem
➡️ lepší GNSS díky přesnějšímu umístění slotových antén
A pozor, díky vyšší integraci antén může být vnitřní elektronika jednodušší, méně členitá a lépe teplotně stabilní.
Propojení obou patentů: kde se to potká
Když se na oba dokumenty podíváme společně, vzniká jasná vize:
1. Budoucí Garmin bude skoro jistě plně kovový
Nové antény odstraní nutnost polymerových oken.
2. Ovládání se přesune do korunky s magnetickým snímáním
Žádné otvory, žádné O-kroužky, žádné riziko destrukce těsnění.
Funkcionálně jde o kombinaci:
- tlačítka
- otočného ovladače
- a haptického prvku
3. Estetika se dramaticky posune
Garmin se více než kdy dřív přiblíží stylu:
- švýcarských nástrojových chronografů
- luxusních profesionálních hodinek
- robustních potápěčských modelů
4. Nová generace MARQ a Fenix bude pravděpodobně největší redesign v historii Garminu
A to nejen zvenku. Uvnitř se díky nové anténní architektuře uvolní prostor, zjednoduší se rozvržení desky a zvýší se odolnost proti vibracím.
Co to znamená pro uživatele
V praxi to přinese:
1️⃣ Lepší GPS
Slotové antény mohou být přesnější, méně rušené a nezávislé na plastových oknech.
2️⃣ Lepší ergonomii
Rotace map, zoom, scrollování, vše se zrychlí a zpřesní.
3️⃣ Lepší ergonomii
Rotace map, zoom, scrollování, vše se zrychlí a zpřesní.
4️⃣ Lepší odolnost
Korunka bez průniku + jednolité kovové tělo = extrémní robustnost.
5️⃣ Lepší design
Menší množství viditelných spojů, méně plastu, prémiovější vzhled.
6️⃣ Potenciálně delší výdrž
Lepší anténní účinnost znamená nižší energetické nároky na rádiové moduly.
Závěr: Garmin vstupuje do nové éry konstrukčního inženýrství
Tyto dva patenty nejsou náhodné ani izolované. Naznačují změnu filozofie:
- od kompromisních konstrukcí ke skutečné integraci
- od plastových výplní k metalickým architekturám
- od tradičního ovládání k hybridním fyzicko-digitálním prvkům
Pokud Garmin skutečně spojí magnetickou korunku i slotové antény, budou budoucí modely Fenix, MARQ nebo Epix představovat největší krok vpřed od uvedení první generace Fenix.
Jde o patenty, které nemění jen dílčí funkce, mění samotné základy, na kterých hodinky stojí.
A co vy, jaké změny by jste uvítali? 🙂
Komentáře
Tento článek zatím nikdo nekomentoval. Buďte první.